| News:ニュース速報 | 2003年5月20日 08:24 PM 更新 |
本田技研工業は5月20日、車の追突の危険を自動的に判断、ブレーキを制御して追突時の被害を軽減する「追突軽減ブレーキ」(CMS:Collision Mitigation brake System)を開発したと発表した。6月発売の新型「インスパイア」に搭載する。

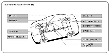
車両前部に取り付けたミリ波レーダーが前方約100メートルをスキャンして車両を検知、車間距離や相対速度、予測した自車の進路などから危険性を判断。車間距離が短い場合にはブザー音などでドライバーに知らせ、さらに前の車に接近してしまった場合は自動的に軽くブレーキングする。回避が困難と判断すれば急制動により衝突速度を低減する。
また衝突前に自動的にシートベルトを引き込む「E-プリテンショナー」も搭載。CMSと組み合わせ、衝突警報として数回シートベルトを引き込んでドライバーに体感的に危険を知らせたり、衝突時に強い引き込みを行うなどして被害を抑えてくれるという。
関連記事[ITmedia]
Copyright © ITmedia, Inc. All Rights Reserved.