もう音楽を聴くだけじゃない 「耳に入れっぱなし」が当たり前になった、最新イヤフォンの世界:小寺信良のIT大作戦(1/3 ページ)
電車に乗るとイヤフォンをしていない人を見つけるのが困難なくらい、完全に当たり前の風景になった。昔は、ただ移動しているだけではヒマだという理由で音楽が聴かれたものだが、ノイズキャンセリング機能の発達により、騒音を軽減する目的もプラスされている。本稿では、「音楽を聴く」以外の役割も増えてきた最新イヤフォンの世界を紹介する。
今では信じられない話だろうが、筆者が学生だった40年前は、地下鉄の冷房も十分ではなく、夏場は窓を開けて走行していた。また当時の国鉄は、今のようなメロディの発車音が採用されておらず、代わりに非常ベルを鳴らしていた。そのやかましさは、筆舌に尽くしがたい。
筆者は音響技術、要するに音楽ミキサー養成の専門学校に通っていたが、先生からは電車の騒音から耳を守るために、ホームでは非常ベルの近くを避けること、極力イヤフォンやヘッドフォンを無音で装着して減音し、耳を保護するように指導されたものだった。
首都圏で電車に乗ると、インバウンド客以外でイヤフォンをしていない人を見つけるのが困難なくらい、完全に当たり前の風景になっている。かつては、ただ移動しているだけではヒマだという理由で音楽が聴かれたものだが、ノイズキャンセリング機能の発達により、電車の騒音を軽減するという目的もプラスされてきた。
それだけでなく、駅を出てからも車の騒音を消す、喫茶店で仕事をするときに周囲のガヤを低減するなど、さまざまなシーンで使える事もすでにご存じだろう。
イヤフォンブームの発端は、iPodの普及とともに2003年に登場したSHURE「E5c」にさかのぼる。それが途中息切れすることなく、現在まで続いているのは大したものである。昨今は静かなところでの長時間装着に対応するため、耳をふさがないオープンイヤー型の流行もある。すでに一過性のブームではなくなっているということでもある。
リスニングとともにバイタル情報も
2月20日に発表された中国EDIFIERのイヤークリップ型ワイヤレスイヤフォン「LolliClip(ロリクリップ)」では、音楽再生以外にも心拍数と血中酸素を測定できる機能を搭載した。イヤークリップ型は耳たぶを挟むように装着するので、そこにバイタルセンサーを搭載することで、こうした測定ができる。
耳からバイタルデータを取るという技術的な背景を探っていくと、古くは2018年にNECがイヤフォンに搭載したセンサーでバイタル情報を取る技術を開発していた。これは業務用で、通話によるコミュニケーションの円滑化を測るのに加え、作業者の安全や健康監視を行う用途だったようだ。
22年のCEATECでは、シャープがイヤフォンにも搭載可能なバイタルセンサーを出展していた。23年までには量産化という計画だったようなので、24年から25年にかけて登場してくるバイタルセンシングイヤフォンには、このセンサーが使われている可能性が高い。
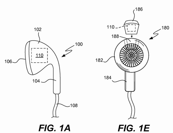
特許だけの話であれば、Appleは14年にイヤフォンやヘッドフォンを使って生体情報を取るという特許を取得している。このときは、スポーツ時の使用を想定していたようだ。また23年には、イヤフォンのイヤピースにで電極を搭載することで、脳波や筋電などの生体信号を取得する特許の出願も確認されている。まだ実際の製品は出てきていないが、ヘルスケア分野のセンシングデバイスとして、早くからイヤフォンに注目していたのが分かる。
Copyright © ITmedia, Inc. All Rights Reserved.



