折りたたみスマホの「メリット」「デメリット」を実体験から解説 “折りたためるiPhone”の登場は?(3/3 ページ)

» 2024年10月11日 06時00分 公開
[金子麟太郎ITmedia]
前のページへ 1|2|3       
※本記事はアフィリエイトプログラムによる収益を得ています

iPhoneに折りたたみタイプは現れるのか

 最後に、iOS搭載の折りたたみスマホは登場するのかどうかを考えてみたい。現状、日本国内で販売されている折りたたみスマホのOS(ベースとなる)はAndroidとなっており、折りたたみスマホのOSでiOSの選択肢はない。

 結論からいえば2024年10月の時点でハッキリとした情報は何もない。そもそも折りたたみ式のiPhoneとしてなのか、それとも「Apple Vision Pro」のように完全に別カテゴリーの新製品として登場するのかも不明だ。

 とはいえ、Appleが取り組んでいるらしい折りたたみ技術に関する情報は、特許出願という形でいくつか発見されている。

 例えば、Appleが2023年3月、米国特許商標庁(USPTO)に出願した「Self-Retracting Display Device And Techniques For Protecting Screen Using Drop Detection(自動開閉式ディスプレイ装置および落下検知を利用した画面保護技術)」は、画面割れを防ぐために落下検知時に自動でディスプレイを閉じる構造だ。

折りたたみスマホ Appleが米国特許商標庁(USPTO)に出願した、折りたたみ端末のディスプレイを落下から保護する特許

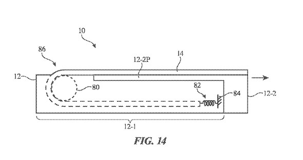
 Appleはボディーをスライドできるデバイスの特許も取得している。その特許を見ると、大画面を必要としないときは横幅を抑え、大画面を必要とするときにだけ、ボディーをスライドさせてディスプレイのサイズを大きくできるような構造となっている。

 ディスプレイは巻き取れる構造とし、折りたたみスマホでよく気にされる折り目の問題を解消できそうだ。ディスプレイはデバイス内部のローラーで巻き取れるようだ。ただし、ローラーを含む構造を本当に実現できるのかは不明で、実現できたとしても耐久性を損なってはいけないため、振動や衝撃に耐えられるように設計しなければならない。

折りたたみスマホ ボディーをスライドさせられる構造。ディスプレイはローラーで巻き取る仕組みとなっている

 ただ、特許申請や特許取得があったからといって、必ずそれが製品化されるとはいえない。ここ数年のAppleの動きを見るに、Appleが他社に先んじてイノベーティブな製品を出すというより、ある程度成熟したものをブラッシュアップする傾向にあると考えられる。

前のページへ 1|2|3       

Copyright © ITmedia, Inc. All Rights Reserved.

アクセストップ10

2026年05月03日 更新
  1. Appleが「端末残価」でAndroid陣営を異例の批判、「ホッピング対策」で新たな縛りも? ルール見直しの焦点 (2026年05月02日)
  2. d払い、dポイントのキャンペーンまとめ【5月1日最新版】 1万〜3万ポイントの高額還元あり (2026年05月01日)
  3. ドコモが「dカード」に公的個人認証を導入 マイナンバーカードで即時本人確認 (2026年05月02日)
  4. 根強いニーズのある「モバイルWi-Fiルーター」 皆さんは使ってますか? (2026年05月02日)
  5. 厚さ約19mmでデスク上の配線をスッキリ整理できる「Anker Nano Charging Station」が24%オフの5290円に (2026年04月30日)
  6. 「iPhone 17e」と「iPhone 17」どちらが買いか? 2機種を使い込んで分かった“スペック表にない違い” (2026年04月29日)
  7. ソフトバンクが「今回もやる」とGalaxy S26を月額1円で販売――販売方法を早急に見直さないと撤退を迫られるメーカーも (2026年03月08日)
  8. ソニー本社の展示刷新、スマホ(Xperia)の扱いはどうなった? 空間から読み解く現在地とヒストリー (2026年05月01日)
  9. 中国スマホの“iPhone化”が進む理由 模倣を超えた「最適解」、乗り換え促進の「エコシステム戦略」に迫る (2026年04月30日)
  10. SBIグループとVisaが提携 暗号資産がたまる「SBI VISAクリプトカード」誕生 (2026年05月01日)
最新トピックスPR

過去記事カレンダー

2026年